

咨詢電話 15301310116 手機:15301310116
微信:15301310116
郵箱:sales@madison-tech.com
地址:北京市海淀區中關村軟件園11號樓一層
發布時間:2024-10-16 15:30:25 人氣:760
本站提供熱偶饋通、CM圓微型饋通、Sub-D饋通、BNC/MHV/SHV同軸饋通、高電壓/電流饋通等多種型號真空電極及配件、線纜,型號齊全,如本頁未找到您所需要的產品,請聯系我們15301310116(微信同號)。
Allectra 高電流/熱偶型真空饋通可滿足真空環境下同時需要加熱及測溫的應用。高電流版本可滿足電流高達150A的應用,比如真空爐。

圖1:高電流-組合型熱偶真空饋通技術指標
高電流-組合型熱偶真空饋通采用銅電極,熱偶可選K/C型。電極直徑可選2.4mm/4.0mm/6.35mm,對應電流分別可達30A/60A/150A。

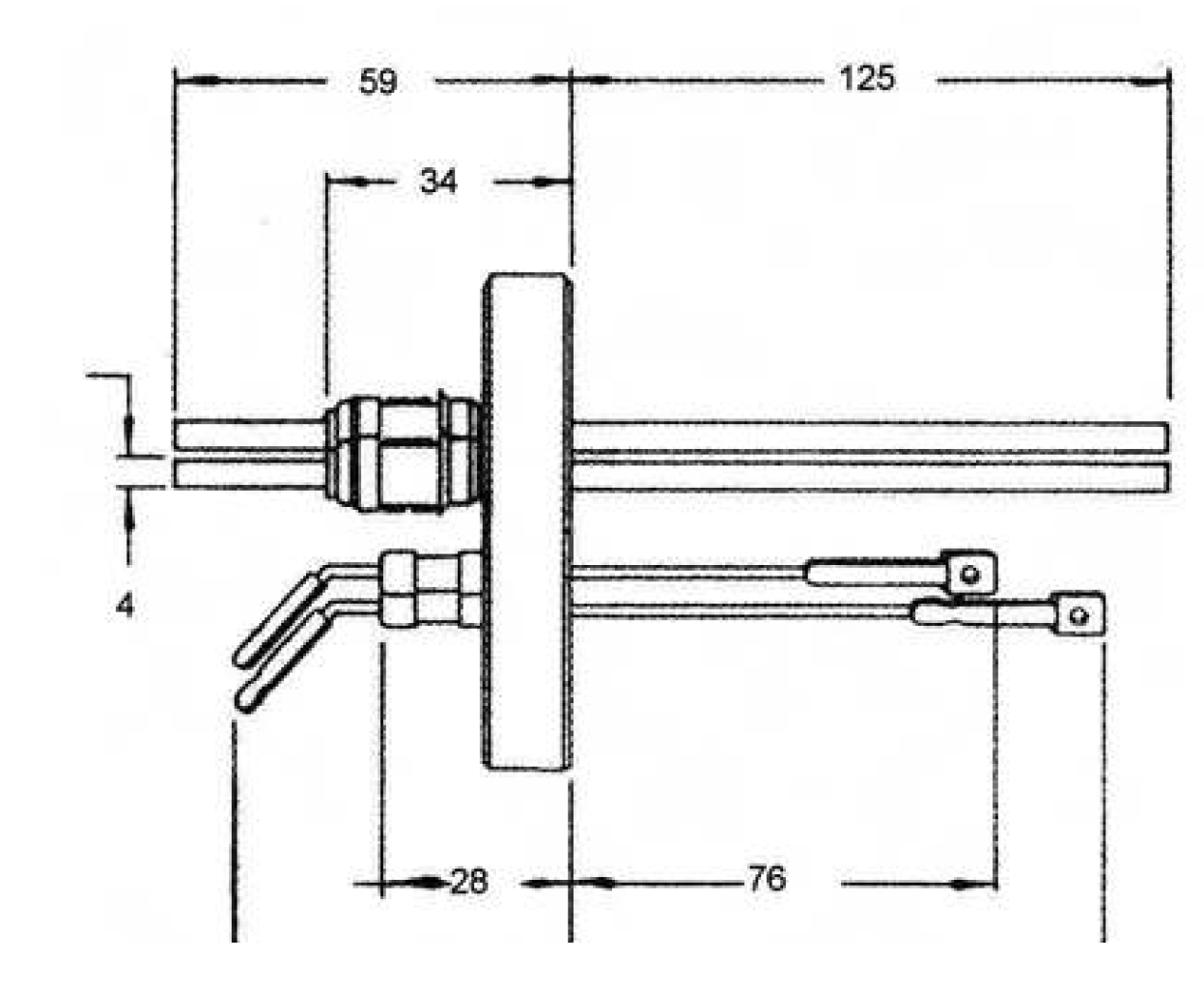
圖2:263-TCK-1-CU60-2-C40組合型真空饋通尺寸圖
(CF40法蘭/1組K型熱偶/2 * 60A)

圖3:263-TCC-2-CU60-3-C40組合型真空饋通三維圖
(CF40法蘭/2組C型熱偶/3 * 60A)

圖4:263-TCK-1-CU150-2-C40組合型真空饋通實物圖
(CF40法蘭/1組K型熱偶/2 * 150A)
以上就是北京麥迪森科技有限公司提供的Allectra 高電流/熱偶型真空饋通,更多產品及定制服務歡迎咨詢15301310116(微信同號)。
